Introduction

This guide provides step-by-step instructions to update the firmware of your Mitsubishi Hands Free Module (HFM). By keeping your HFM's firmware up to date, you ensure optimal performance, compatibility with new devices, and access to the latest features.

Note that once the update is completed, the system will be reset and the following information will be deleted:

  • Phone book data
  • Pairing data
  • Voice Recognition data
  1. NNq6JLTlF4FLLOsZ
    • Turn the Ignition switch to the ACC or ON position.

    • Switch off the radio and CD player by py pressing on the PWR/VOL knob.

  2. GATUfFViQYY6DeRk
    • Press the following buttons in that order within sixty seconds from Step 1:

    • The 1 RPT button.

    • The button.

    • The button.

    • The 4 ⏩ button.

    • The display should now read DIAG MODE.

    • When an invalid button is pressed during diagnosis mode except the hands free-ECU update, the diagnosis mode will be cancelled, thus switching off the radio and CD player.

    • While in diagnosis mode, the sound input to the microphone unit is output directly through the speaker.

  3. hLQhIABNYQNi3JHS
    • Turn the ♪/SEL knob clockwise to display HFM DIAG.

    • Press on the ♪/SEL knob to display HFM DIAG TOP.

  4. 5N2beCtaMHQox5uh
    5N2beCtaMHQox5uh
    N12dCQMCDA5UVbRD
    • Turn the ♪/SEL knob clockwise twice to display the Parts Number.

    • The display should read something along the lines of PN XXXXXXXX.

    • We'll need this later when downloading the Firmware file.

  5. Np5euAsIhRwjwgnd
    Np5euAsIhRwjwgnd
    ZO4tNedSOawBYiF3
    • Turn the ♪/SEL knob clockwise twice to display the Software Version.

    • The display should read something along the lines of S/W XXXXXXX.

    • If the Version Number is 19.00.000 you already have the last available Firmware installed and don't need to do anything.

  6. ULbCxxRVQ2WtKrSa
    ULbCxxRVQ2WtKrSa
    2PEWIDwIIAqZmqqC
  7. BQoZBECLICrPZiRx
    • The flash drive needs to be formatted to FAT32 and should not be larger than 16GB. Additionally the head unit can be a bit picky and might not accept all flash drives. If it can't read your flash drive, just try a different one.

    • Copy the update.package file to the root directory of the USB flash drive.

  8. YYaYZkdgqt23YYuu
    • Insert the USB flash drive into one of the USB ports in your car.

    • You can usually find a USB port inside the center console or below the head unit.

  9. iS3344ncVgWDwvrf
    iS3344ncVgWDwvrf
    FwhVXkdyQbILPogV
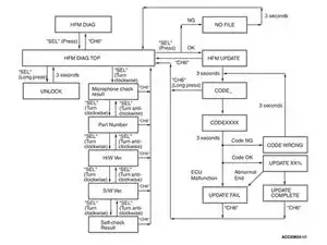
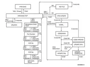
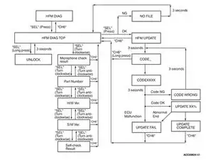
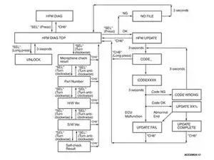
    • Re-enter the HFM DIAG-Section of the Diagonstic Menu by repeating the previous steps or pressing the 6 ↩ button while displaying the Version Number.

    • Initiate the Update by pressing on the ♪/SEL knob.

    • If the display reads NO FILE it means that it couldn't read your flash drive.

    • If the display reads HFM UPDATE it means that it found an update file on your flash drive, and will proceed in 3 seconds.

  10. BndPYsVpuRY22I1U
    BndPYsVpuRY22I1U
    SMFpmdfihIoNKRB5
    • When the display reads CODE_, enter the Security PIN using the number buttons.

    • If you don't have one set you can just enter 1234.

    • Perform the following steps to remove your Security PIN, if you have forgotten it:

    • Return to HFM DIAG TOP by long pressing the 6 ↩ button.

    • Forecefully remove on the Security PIN by long pressing the the ♪/SEL knob until the display reads UNLOCK.

    • The display will return to HFM DIAG TOP after 3 seconds. You can now proceed by repeating Step 9.

    • The update will start 3 seconds after you entered the correct Security PIN.

    • Wait for the update to finish.

    • Do not remove the flash drive or turn off the car while the update is running!

    • Once the update is completed the display will read UPDATE COMPLETE.

Conclusion

Drive safe!

Sebastian

Member since: 19/08/18

28112 Reputation

0 comments